磨粒流工藝能有效的改善機構中各種缸體、閥體的加工質量,提高機構零件的精度
磨粒流工藝的發明,創立了內、外表面處理的新概念,使金屬表面處理更具特色,磨粒流加工過程中,兩個相對的磨料缸使磨料在零件和夾具所形成的通道中來回擠動。磨削作用產生在流體受到限制的部位,即積壓部位,當磨料均勻而漸進的對通道表面或邊角工作時,產生去毛刺、研磨、拋光、倒角作用
液壓機構中的各種缸體、閥體類零件,其內部多有小且深的油孔,由于其主要用于高低壓液壓油的流通,因此,表面精度要求很高,采用磨粒流加工方法,可很大程度的提高油孔表面精度,滿足液壓機構油路的要求
國內加工的液壓機構閥體、缸體等,由于人為、設備等諸多因素,始終擺脫不了各種缺陷的存在,特別是油道交接處的尖角、毛刺難以清除,內壁的粗糙度達不到預期要求,而磨粒流工藝能較好的解決這一難題
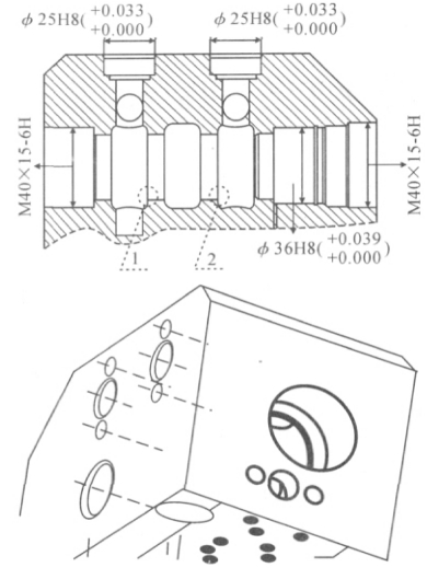
如碟簧儲能類液壓機構產品的活塞缸,見圖1。

缸體材質一般為鋁料(180鋁棒2A50-H112), 傳統機加工工藝流程一-般為:下料-→鍛造-→固溶時效-→鏜一>鉗工去毛刺-→研磨-→硬質陽極氧化,由于加工時內腔比較深,且內壁側面有深孔,尺寸難以保證,表面光潔度僅能達到R。1.6 μum,若利用磨粒流加工,只需做適當的工裝,即可去除內孔交接處的尖角和提高內孔精度;在表面處理前將原工藝流程中的鉗工去毛刺和研磨改為磨粒流工藝,留出表面處理的尺寸,改善表面處理前的基體表面質量,得到最終尺寸,
利用磨粒流工藝加工液壓機構產品活塞缸加工方案見圖3,具體參數為:
①機床壓力為14~224 kg/cm2,
②磨料缸直徑為150~600mm ;
③磨粒選用直徑在0.005~1.5 mm之間的碳化硅砂粒
圖3中序號1為磨粒流設備左缸;序號2為固定工件的工件(控制閥體);序號3為右缸;序號4為工裝磨料。序號5為磨料
加工過程中,磨料在左右缸中活塞的推動下,在左缸、工件孔及右缸中來回流動,通過磨料在流動中與工件內表面及尖角摩擦,達到去毛刺和研磨的目的,以圖2中工件孔內1、2處為例,加工前,倒角很小,尖角很鋒利,加工后,倒角有所增大,尖角光滑過渡,沒有毛刺。通過磨粒流工藝后,工件內部的尖角毛刺能夠完全的去除。且利用磨粒流工藝后孔內的表面光潔度最終可達到R.0.2μm8,同時磨粒流工藝可作為缸體、閥體類零件加工的最后一道清理工序,可防止液壓油在缸體、閥體流動中迅速變臟,因此采用磨粒流工藝不僅能提高加工效率,而且能提高零件加工的表面質量。通過磨粒流工藝在高壓斷路器配用液壓機構零件加工上應用的探討,采用磨粒流處理方式可以提高零件表面精度I9,確保零件的加工質量,達到較高的加工精度,適合各種缸體、閥體類零件的加工。特別是在加工細小孔較多、精度要求較高的零件
采用磨粒流更能顯示出它的優勢[10],因此磨粒流工藝具有很好的推廣價值,在高壓斷路器產品配用液壓機構零件加工中的應用前景十分廣闊

首頁




電話咨詢
應用案例
全部機型
聯系我們